Vinfast
News/ Cars/ Mercedes patent hints that the V12 may not be done just yet

Mercedes patent hints that the V12 may not be done just yet

Mercedes-Benz has spent the past few years keeping everyone guessing about its long-term engine strategy. Electric first, then electric plus combustion, then a renewed focus on big petrol engines. The latest development suggests the internal combustion engine, including the very largest ones, is not heading quietly into retirement.

A newly uncovered Mercedes engine patent points to fresh thinking around how exhaust gases are managed, with the stated goal of improving breathing, efficiency and outright performance. On the surface, it is an engineering detail. Look a little closer and it starts to feel more significant.

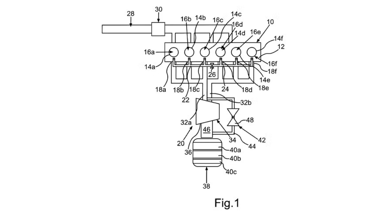
The patent describes an additional exhaust path for each cylinder, linked internally through channels in the cylinder head and controlled by a valve. Under certain operating conditions, exhaust flow from one group of cylinders can influence another. In simple terms, the engine can breathe better at higher engine speeds without compromising low-speed behaviour.

Illustrations show the system applied to an inline-six, where the front three and rear three cylinders are paired and connected via a valve-controlled passage. At higher rpm, the valve opens, optimising exhaust flow. It is a very German solution. Neat, precise and quietly clever.

The important detail is that Mercedes explicitly states the concept is suitable for multiple engine layouts. Inline-four, inline-six, V8 and yes, V12. That last one is what has enthusiasts leaning forward.

Mercedes has never fully abandoned the V12. Today, its 6.0-litre twin-turbo V12 survives in extremely limited numbers, most notably in the Mercedes-Maybach S 680 and the Pagani Utopia. It is no longer about headline power figures. A modern turbo V8 can match or exceed those. The V12 exists for refinement, status and brand symbolism.

In the luxury space, cylinder count still matters. A Maybach with a V12 carries a different weight to one without, especially in markets where regulation is less restrictive and demand remains strong. Mercedes has already acknowledged that regions such as the Middle East and China continue to justify keeping the V12 alive, provided it can be engineered to meet evolving emissions standards.

This patent suggests Mercedes is thinking ahead rather than simply maintaining the status quo. If it leads to a next-generation V12, it is unlikely to be a nostalgic, naturally aspirated indulgence. Expect something heavily engineered, cleaner, more efficient and likely electrification-ready, designed to earn its place rather than apologise for it.

For now, this remains a patent rather than a product plan. But in an industry where most V12s have already taken their final bow, the idea that Mercedes is still investing thought into the format is noteworthy. The V12 may yet have another chapter left to write.

TopGear Magazine Annual Issue 2026